Артикул:
KH-4300
Производитель
KAISER
Серия
Canon
Назначение
аксессуары
Монтаж
на стену
Цвет
бронза
Материал
латунь
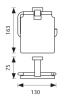
Длина, мм
130
Высота, мм
163
Глубина, мм
75
Вес, кг
0.567
Наша компания осуществляет только оптовые продажи. Стать нашим клиентом просто! Заполните форму в разделе «Сотрудничество» и наш менеджер свяжется с Вами в короткие сроки.
Как купить смесители KAISER в розницу? Приобрести продукцию KAISER в розницу можно в нашем интернет-магазине www.water-mark.ru или у наших официальных партнеров в разделе «Где купить».
Мы гарантируем качество своей продукции и осуществляем сервисное обслуживание на протяжении всего гарантийного срока!
